Винт ОСТ 1 31521-80 (10)
- Подробно
Авиационные нормали: 3162А
Марка материала: 10
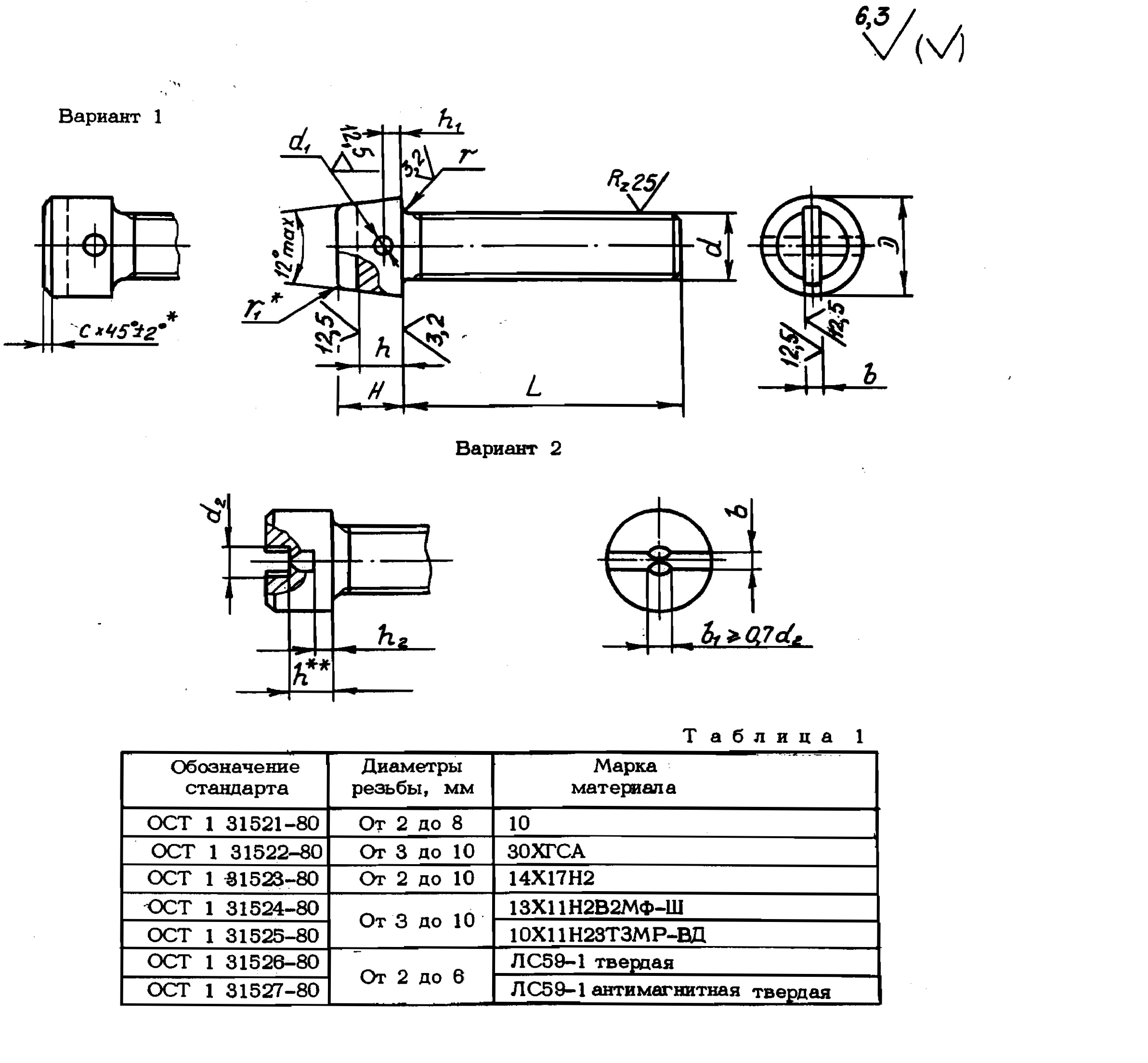
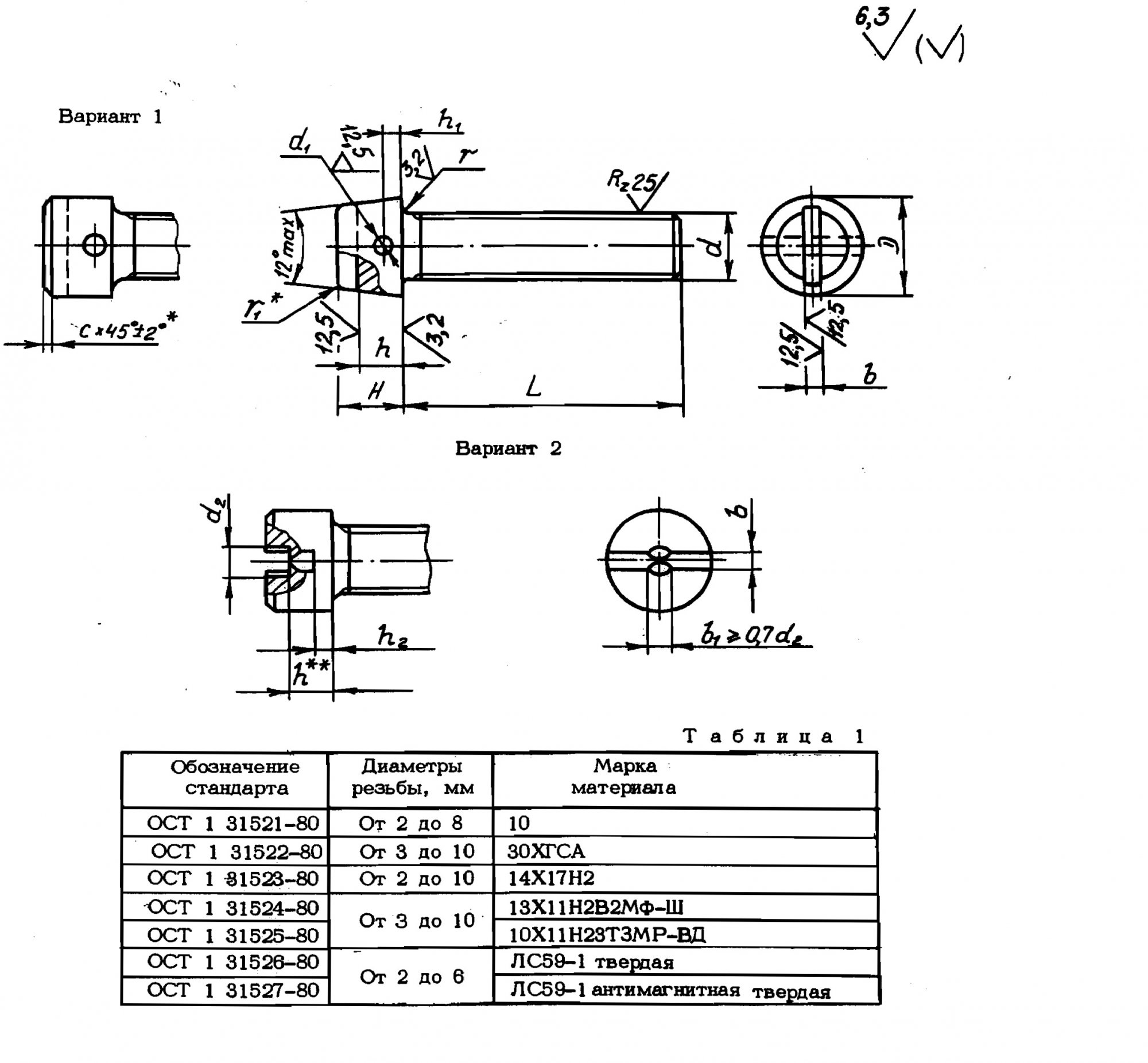
ТД Техмаш предлагает оформить винт ОСТ 1 31521-80, который отличается следующими особенностями - его цилиндрическая головка оснащена отверстием для контровки, стержень с резьбой также имеет цилиндрическую форму. Этот метиз соответствует авиационной нромали 3162А, поэтому активно применяется в металлических конструкциях авиа- и ракетостроения. Он исполнен из стали 10, ориентированной на длительный срок службы и устойчивой к механическим повреждениям.

Марка материала: 10
ТД Техмаш предлагает оформить винт ОСТ 1 31521-80, который отличается следующими особенностями - его цилиндрическая головка оснащена отверстием для контровки, стержень с резьбой также имеет цилиндрическую форму. Этот метиз соответствует авиационной нромали 3162А, поэтому активно применяется в металлических конструкциях авиа- и ракетостроения. Он исполнен из стали 10, ориентированной на длительный срок службы и устойчивой к механическим повреждениям.








